iPad Pro 2020 could get this amazing Apple Pencil upgrade
The iPad and iPad Pro would really benefit from these Apple Pencil Touch Bar and haptic patents
Here at Tom’s Guide our expert editors are committed to bringing you the best news, reviews and guides to help you stay informed and ahead of the curve!
You are now subscribed
Your newsletter sign-up was successful
Want to add more newsletters?
Daily (Mon-Sun)
Tom's Guide Daily
Sign up to get the latest updates on all of your favorite content! From cutting-edge tech news and the hottest streaming buzz to unbeatable deals on the best products and in-depth reviews, we’ve got you covered.
Weekly on Thursday
Tom's AI Guide
Be AI savvy with your weekly newsletter summing up all the biggest AI news you need to know. Plus, analysis from our AI editor and tips on how to use the latest AI tools!
Weekly on Friday
Tom's iGuide
Unlock the vast world of Apple news straight to your inbox. With coverage on everything from exciting product launches to essential software updates, this is your go-to source for the latest updates on all the best Apple content.
Weekly on Monday
Tom's Streaming Guide
Our weekly newsletter is expertly crafted to immerse you in the world of streaming. Stay updated on the latest releases and our top recommendations across your favorite streaming platforms.
Join the club
Get full access to premium articles, exclusive features and a growing list of member rewards.
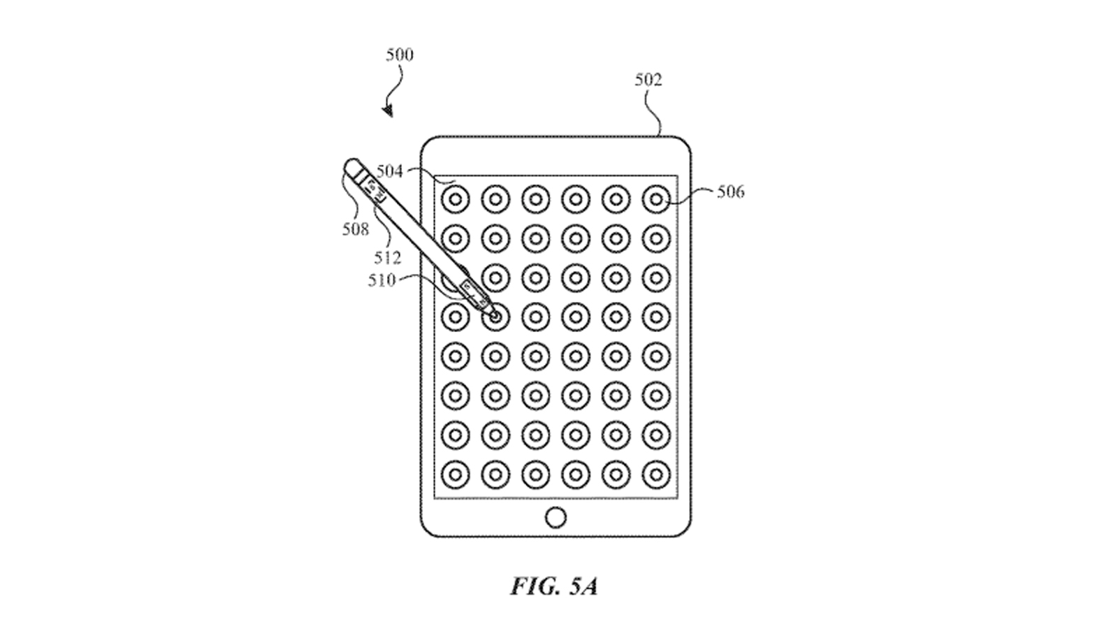
New Apple patents, found by AppleInsider, have shown the company's idea for an Apple Pencil stylus featuring a touch bar, and another for improved haptics. Together, these features could give future iPads and iPad Pros an even bigger selling point than the Pencil already provides.
The first patent shows a Touch Bar, like the one present on recent MacBook Pros, which can be used as an additional control method. This would also make the Pencil look transparent, allowing the user to see what's beneath the area the stylus covers.
- iPad Pro 2020: Everything you need to know
- All the details on the new MacBook Air 2020
- Just in: New Windows 10 video reveals brand new interface
The Apple Pencil could also benefit from a glass design, as outlined in the patent. Glass is tougher than plastic; it's the reason the majority of smartphones' displays are made of glass. Therefore having a glass stylus would mean it's less like to be open to debris or discolored, although this would make it more fragile than a plastic stylus.
The Touch Bar can also act as an input method, detecting double or triple taps or sliding motions, which would be great for artists swapping between brush types and sizes in a drawing app. The touch display would also allow the Pencil to change colors, indicating what the currently selected color or tool was
Like the current Gen 2. Apple Pencil, this would still magnetically attach to the side of an iPad, and charge while it was there. The Gen. 2 Pencil also has touch functionality, but only recognizes a double-tap.
A second patent found by Apple Insider shows a new kind of haptic feedback for the Apple Pencil. We've seen a previous Apple Pencil haptic patent that would allow for the stylus to deform to act as a button or to give feedback to the user, but this one would nudge a user's hand towards where an app thinks it should go.
Potential uses would be helping users draw perfect circles or other shapes, or helping avoid potential mis-clicks. The patent also suggests it could be used as a form of autocomplete while typing on the virtual keyboard, directing the user towards commonly used letters and away from less likely options. This system could also be used to stop the pencil from rolling away when placed on an iPad.
Get instant access to breaking news, the hottest reviews, great deals and helpful tips.
The usual warning with patents applies here - these are just ideas that many never enter production, and any that do may be years away from being added to something you can buy. But that doesn't stop us being impressed at what Apple's designers are coming up with.

Richard is based in London, covering news, reviews and how-tos for phones, tablets, gaming, and whatever else people need advice on. Following on from his MA in Magazine Journalism at the University of Sheffield, he's also written for WIRED U.K., The Register and Creative Bloq. When not at work, he's likely thinking about how to brew the perfect cup of specialty coffee.
