Apple's smart ring could be the perfect iPhone 12 accessory
This is what an Apple ring could look like
Here at Tom’s Guide our expert editors are committed to bringing you the best news, reviews and guides to help you stay informed and ahead of the curve!
You are now subscribed
Your newsletter sign-up was successful
Want to add more newsletters?
Daily (Mon-Sun)
Tom's Guide Daily
Sign up to get the latest updates on all of your favorite content! From cutting-edge tech news and the hottest streaming buzz to unbeatable deals on the best products and in-depth reviews, we’ve got you covered.
Weekly on Thursday
Tom's AI Guide
Be AI savvy with your weekly newsletter summing up all the biggest AI news you need to know. Plus, analysis from our AI editor and tips on how to use the latest AI tools!
Weekly on Friday
Tom's iGuide
Unlock the vast world of Apple news straight to your inbox. With coverage on everything from exciting product launches to essential software updates, this is your go-to source for the latest updates on all the best Apple content.
Weekly on Monday
Tom's Streaming Guide
Our weekly newsletter is expertly crafted to immerse you in the world of streaming. Stay updated on the latest releases and our top recommendations across your favorite streaming platforms.
Join the club
Get full access to premium articles, exclusive features and a growing list of member rewards.
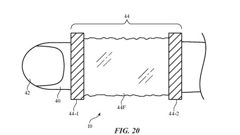
Apple is working on a wearable smart ring with an expandable design that could potentially offer similar uses as Apple Watch, except its worn around a finger rather than the wrist.
AppleInsider spotted a patent for an "Expandable Ring Device" granted to Apple by the USPTO, suggesting that when Apple does release a smart ring its size won't be static.
- iPhone 12: Everything we know so far
- Foldable iPhone design is a marriage of iPad and Galaxy Z Flip
- PLUS: How to clean your phone to protect against coronavirus
The expandable design could let the ring stretch out in accordion style from the form of a piece of jewelry to something that looks like a finger tube. The larger setting would leave room for things like sensors or even a foldable display. No matter what powers it unravels, though, there's no denying this design is weird.
In other words, Apple has alternative wearable approach in mind than what we've seen from the Amazon Echo Loop, a chunky Alexa-enabled ring that lets you speak commands into your knuckle.
The Echo Loop is not a full consumer product yet, only accessible via an invite from Amazon itself, but it shows a push to experiment with wearables and it only makes sense that Apple would through their hat in the ring. (Sorry, truly.)
Except in Apple fashion, the patent images we're seeing suggest something more forward-thinking. It appears the expandable ring could function as a controller of some kind for certain iOS devices. For example, the Apple smart ring might act as a haptic glove replacement that can communicate with the future iPhone 12.
Haptic sensors could be embedded within the extendable frame, and straining them with a bend of a finger could translate to gestures for operating external devices. In addition, Apple proposes in the patent that the ring could sport rotatable buttons and other physical input elements on the main ring housing.
Get instant access to breaking news, the hottest reviews, great deals and helpful tips.
Keep in mind Apple patents these types of ideas all the time, and very few actually make it to the consumer. But we already have the Echo Loop and haptic Tap Strap 2 Keyboard with gesture controls, so an Apple smart ring certainly can't be discounted as being the company's next big thing.
Calling it a replacement for the Apple Watch 6, though, is probably a stretch.

Kate Kozuch is the managing editor of social and video at Tom’s Guide. She writes about smartwatches, TVs, audio devices, and some cooking appliances, too. Kate appears on Fox News to talk tech trends and runs the Tom's Guide TikTok account, which you should be following if you don't already. When she’s not filming tech videos, you can find her taking up a new sport, mastering the NYT Crossword or channeling her inner celebrity chef.
