Sony could be working on this new PS5 controller design — and it looks awesome
Here at Tom’s Guide our expert editors are committed to bringing you the best news, reviews and guides to help you stay informed and ahead of the curve!
You are now subscribed
Your newsletter sign-up was successful
Want to add more newsletters?
Daily (Mon-Sun)
Tom's Guide Daily
Sign up to get the latest updates on all of your favorite content! From cutting-edge tech news and the hottest streaming buzz to unbeatable deals on the best products and in-depth reviews, we’ve got you covered.
Weekly on Thursday
Tom's AI Guide
Be AI savvy with your weekly newsletter summing up all the biggest AI news you need to know. Plus, analysis from our AI editor and tips on how to use the latest AI tools!
Weekly on Friday
Tom's iGuide
Unlock the vast world of Apple news straight to your inbox. With coverage on everything from exciting product launches to essential software updates, this is your go-to source for the latest updates on all the best Apple content.
Weekly on Monday
Tom's Streaming Guide
Our weekly newsletter is expertly crafted to immerse you in the world of streaming. Stay updated on the latest releases and our top recommendations across your favorite streaming platforms.
Join the club
Get full access to premium articles, exclusive features and a growing list of member rewards.
While we generally love the DualSense controller that comes bundled with every PS5, it's hard to ignore the heft of the device. Well, a new patent filing suggests that Sony is looking to reinvent the DualSense with a bizarre feature out from left field.
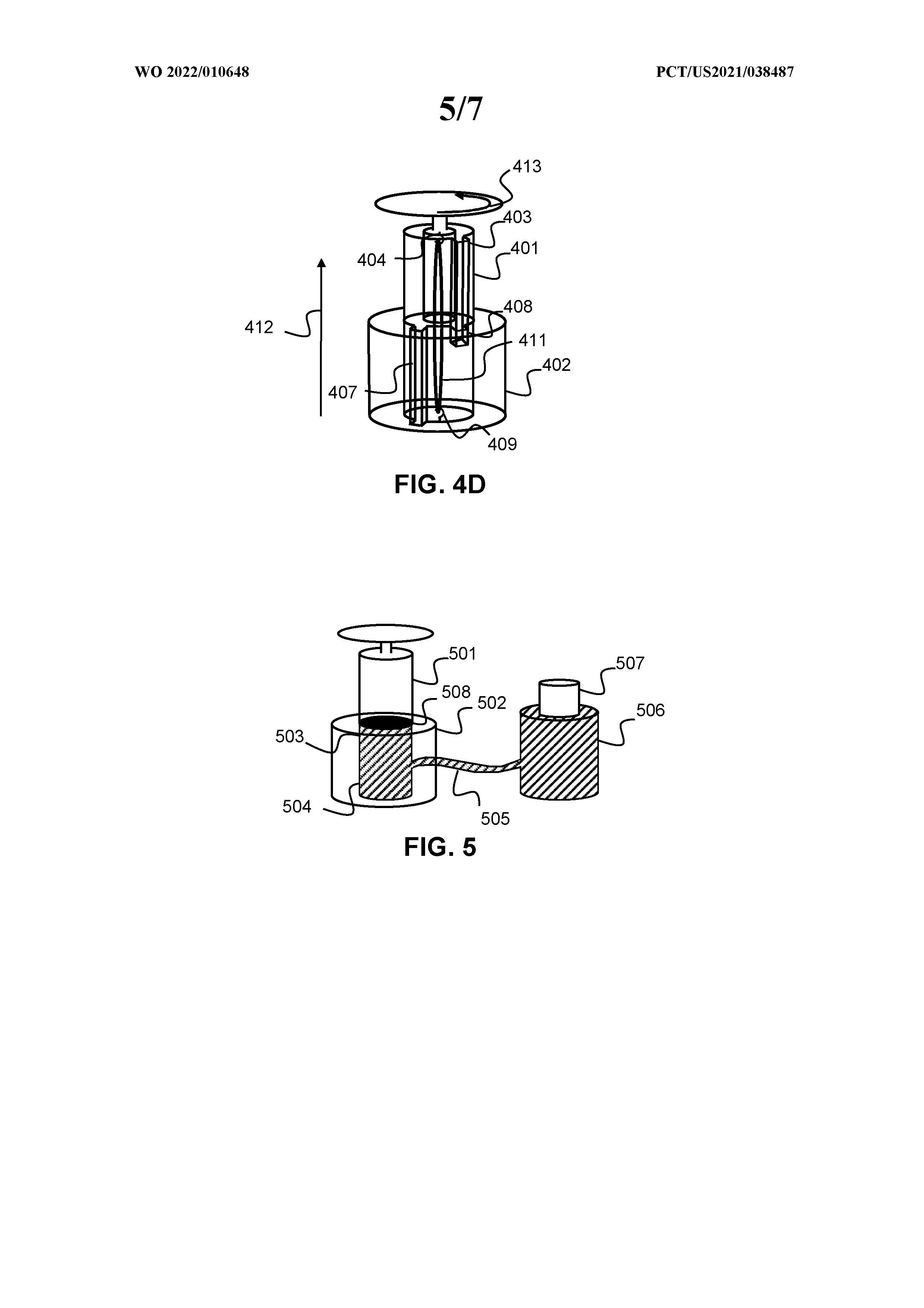
According to a patent application spotted by PatentScope, and as reported by our sister-site Creative Bloq, Sony has developed an analog stick design that's collapsible.
The patent filing states, "A controller, thumbstick, or system comprising a thumbstick body, a thumbstick shaft coupled to the thumbstick body wherein the thumbstick shaft is configured to retract into the thumbstick body and wherein the thumbstick body and the thumbstick shaft is freely rotatable together around a pivot center within the controller body."
To us, this seems like a PS5 DualSense controller that can have sticks shrunk down to the size of PS Vita sticks. While the sticks on the PS Vita weren't bad, and were a dramatic improvement over the PSP or Nintendo 3DS, it really couldn't compare to the larger analog sticks found on a PS4 or Xbox One controller.
And remember, this is only a patent application. It's Sony essentially telling patent regulators that it was the first to invent something new. It's up to regulatory agencies to grant Sony the patent, which can take upwards of a year.
Of all the verbiage detailed in Sony's patent application, the use of non-Newtonian fluid caught our attention. A non-Newtonian fluid is a material that can sit solid, but take on a more liquid form when pressure is applied. According to Sony, this fluid can be manipulated to apply different pressures during gameplay, similar to the DualSense's innovative analog sticks.
Recent patent filings are not limited to special thumbsticks, however. It seems that on Jan. 6, PS5 architect Mark Cerny filed a patent with the U.S. Patent and Trademark Office, or USPTO, that allows for backwards compatibility of past PlayStation titles. If it does come to fruition, that means titles stuck on the PS3's complicated hardware, such as inFAMOUS or Metal Gear Solid 4: Guns of the Patriots, can finally be played on modern hardware. Granted, the words "PlayStation" or "PS3" were never mentioned in the filing, but were implied.
Get instant access to breaking news, the hottest reviews, great deals and helpful tips.
Either way, if any of the above patents do come true, then it could make the PS5 an even more excellent system, one that can not only deliver of next-gen controller functionality, but also some solid backwards compatibility.

Imad is currently Senior Google and Internet Culture reporter for CNET, but until recently was News Editor at Tom's Guide. Hailing from Texas, Imad started his journalism career in 2013 and has amassed bylines with the New York Times, the Washington Post, ESPN, Wired and Men's Health Magazine, among others. Outside of work, you can find him sitting blankly in front of a Word document trying desperately to write the first pages of a new book.
