New iPad leak reveals radical dual-screen design
Apple iPads could be transformed into dual-screen devices — here’s how
Here at Tom’s Guide our expert editors are committed to bringing you the best news, reviews and guides to help you stay informed and ahead of the curve!
You are now subscribed
Your newsletter sign-up was successful
Want to add more newsletters?
Join the club
Get full access to premium articles, exclusive features and a growing list of member rewards.
While a foldable iPhone in the form of the iPhone Flip, may be in the works, Apple’s next folding device could be a multi-tablet hybrid iPad.
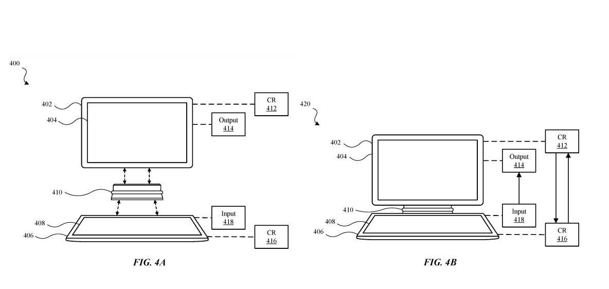
That’s going by the “Modular multiple display electronic devices” patent Apple filed with the U.S. Patent Office, which shows how two tablets could be connected together to form a single foldable device using a slick hinge mechanism.
- The iPad mini 6: Release date, price, specs and rumors
- Windows 10 updates will soon get a lot less frustrating
- Just in: Microsoft Surface Duo video reveals all the key features
The device in the patent looks like an Apple take on the Microsoft Surface Neo, in which two tablet-like displays are connected together by a hinge to form one large display with a notable but not a vast seam in between. Much like the Surface Neo, the concept here looks to provide more screen space for productivity tasks when on an iPad, perhaps. The design looks like it can transform into a laptop, with one display acting as a virtual keyboard.
Article continues below
But whereas the Surface Neo is one device, this Apple patent suggests that a hinge accessory could be used to join two iPads, allowing for a modular dual-screen device that could be upgraded over time; say, using the latest iPad Pro as the main display, and then an older iPad for the secondary display or virtual keyboard deck.
According to the patent, the hinge would allow for data to be transferred between the two tablets. This could allow the sharing of hardware resources and deliver a more powerful overall device.
“In a coupled configuration where the first and second electronic devices are mechanically coupled by the coupling element, the first computing resources are available for use by the second electronic device via the communication path such that the first display is operable as a primary display capable of presenting visual content in accordance with the first and second computing resources, and the second display is operable as a secondary display that is capable of providing data for operation of the coupled configuration,” the patent explained.
With the Magic Keyboard accessory, the iPad Pro 2020 has shown how Apple tablets can become proper productivity machines, although not quite enough to replace a laptop. But it also heralds a future where the flexibility of an iPad and its potential functions will keep expanding.
Get instant access to breaking news, the hottest reviews, great deals and helpful tips.

Roland Moore-Colyer was a Managing Editor at Tom’s Guide with a focus on news, features and opinion articles. He is now at our sister site Tech Radar, where he heads up their buying guide team. When not at his desk Roland can be found wandering around London, often with a look of curiosity on his face.
