Next MacBook Pro could beat Surface Book 3 with this big upgrade
The MacBook Pro could ditch it's traditional design for an adjustable hinge, giving the Surface Book 3 some competition.
Here at Tom’s Guide our expert editors are committed to bringing you the best news, reviews and guides to help you stay informed and ahead of the curve!
You are now subscribed
Your newsletter sign-up was successful
Want to add more newsletters?
Join the club
Get full access to premium articles, exclusive features and a growing list of member rewards.
Next year's MacBook Pro could ditch the hinge for a flexible unibody design, based on a new patent. It may be some time before becoming a reality, but it could give Apple a more direct rival to Microsoft's Surface Book 3.
An application for a "Planar Hinge Assembly" was discovered by AppleInsider within the USPTO patent listings. Apple's been looking into flexible tech for some time now, but this one seems like a very reasonable idea capable of being used on an actual product.
- MacBook Pro 2020 (13-inch): Release date, price, keyboard and specs
- What you need to know about Microsoft Surface Book 3
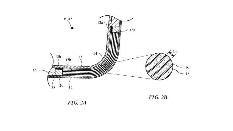
Rather than using a flexible display like a foldable phone, the patent instead shows a flexible hinge that forms part of the single body of the laptop. The hinge still contains all the electronics and connections needed to operate the laptop normally, but can be bent open at many different angles, which reminds us a little of the Samsung Galaxy Z Flip foldable flip phone, which can be opened at many angles to either make the phone stand up or use its full length.
Article continues belowIt's also suggested that a display could be built into the hinge. MacBooks have used Apple's divisive Touch Bar panel in place of the function keys for some time now, but by moving the Touch Bar's tool options into the hinge, Apple power users could keep their shortcuts where they want them while everyone can benefit from having physical Esc and F-keys again.
The patent also mentions that this technology could be used on a smartphone case or a tablet. So perhaps if this design works well on laptops, we'll see Apple try this idea on an iPhone or iPad. Apple already has many ideas for smaller foldable devices and flexible batteries to power them, including one recent patent that suggests turning the iPhone's display into a roll-out mechanism.
Microsoft's Surface Book 3, expected to be announced soon, will directly challenge the just-announced 13-inch MacBook Pro 2020, but also the next two or three generations of MacBook. If Apple is able to get this design working on a MacBook within the next couple of years, then it could overshadow Microsoft's Surface Book series in terms of design.
What remains to be seen is whether Apple will support touchscreens going forward on MacBooks. Right now touchscreen computing is the exclusive domain of the iPad for Apple. But Apple has been working to bring iPad apps to the Mac with Project Catalyst. In addition, Apple is also reportedly releasing its first ARM-powered MacBook next year. And with a Magic Keyboard coming to the iPad Pro, complete with a touchpad, the lines are definitely starting to blur between the Mac and iPad.
Get instant access to breaking news, the hottest reviews, great deals and helpful tips.
Patents don't always turn into reality, however. And if it does, there's a chance we'll be waiting for a few years rather than months for it to be used on a MacBook. But we're certainly convinced of this stylish but intelligent use of foldable design, and hope it appears sooner than later.

Richard is based in London, covering news, reviews and how-tos for phones, tablets, gaming, and whatever else people need advice on. Following on from his MA in Magazine Journalism at the University of Sheffield, he's also written for WIRED U.K., The Register and Creative Bloq. When not at work, he's likely thinking about how to brew the perfect cup of specialty coffee.
